2016.01.03.

A repülőgép-baleseteket összesítő Aviation Safety Network szakportál adatai szerint 2015-ben biztonságosabb volt a repülés, mint korábban: a halálos balesetek száma rekordalacsony volt.

2015.12.17.

Együttműködési megállapodást írt alá a HungaroControl Magyar Légiforgalmi Szolgálat Zrt. és a Wizz Air, a közös munka a repülésbiztonság, az operatív módszertan, a kutatás-fejlesztés, az oktatás és a képzés, valamint a szolgáltatásminőség és a vevőelégedettség területére vonatkozik.

2015.12.11.

Változó teljesítményt nyújtottak Európa fő hálózatos légitársaságai novemberben, jelentősen csökkent a Lufthansa, stagnált az Air France-KLM és nőtt az International Airlines Group (Aer Lingus, British Airways, Iberia) utasainak száma tavaly novemberhez képest - derül ki a cégek honlapján közölt...

2015.12.10.

Elérte a tízmilliós utasforgalmat csütörtökön a Liszt Ferenc nemzetközi repülőtér, ennyi utast korábban egyetlen évben sem fogadott a ferihegyi légikikötő.

2015.12.10.

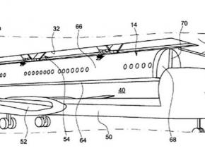
Az Airbus egy nemrég szabadalmaztatott ötlet, mely az újfajta sokoldalúságot kialakíthatóságot kutatja. Egy olyan moduláris repülőt terve ez, amelynek géptörzséről leszerelhetőek lennének az utasszállító kabinok. Az elképzelés forradalmasíthatja a légiközlekedést azáltal, hogy minimálisra...

2015.12.03.

Újabb telephelyet nyit a Wizz Air Romániában, és tovább bővíti járatainak számát a kelet-romániai jászvásári (Iasi) repülőtérről - jelentette be csütörtökön Abrán György, a diszkont légi társaság kereskedelmi igazgatója

2015.12.02.

További bővülésre számít a dubaji székhelyű Emirates légitársaság, amely napi járatot közlekedtet Budapestre és keddtől 30 százalékkal nagyobb kapacitású gépet állítottak forgalomba a járaton.

2015.11.27.

Az El Al izraeli légitársaság működése legjobb harmadik negyedévét zárta, 208 millió dollár üzemi eredményt ért el az idén július és szeptember között; a cég jövőre növelné a magyar utasok arányát.

2015.11.26.

Megkötötte első 11 darab Airbus A321-es repülőgépére a Wizz Air a lízingszerződést a CCB Financial Leasinggel - közölte a légitársaság csütörtökön az MTI-vel.

2015.11.15.

A nagy európai hagyományos légitársaságokat tömörítő mindhárom vállalati csoport utasforgalma nőtt októberben, a legjobban az International Airlines Group (IAG) teljesített - derül ki a légitársaságok honlapján közölt utasforgalmi statisztikákból.

Oldalak

 

Az oldal fő támogatója

 

2025.12.11
Szöveges és térképes figyelmeztető előrejelzést adott ki Magyarország területére 2025.12.11.....
2025.12.10
Míg Nyugat-Európában a második világháború után több sikeres törpeautó is készült, a vasfüggöny....
2025.12.10
Japánban és a fejlődő országokban is igen népszerű a taxisok és a vállalkozók körében a Probox,....
2025.12.10
A legszűkebb garázsok sem jelenthetnek többé akadályt.   ..
2025.12.10
A felkelő nap országában mindig is az autó alsó határát feszegették, különösen a XX. század derekán....
2025.12.10
A Mazda fejlett biztonsági megoldások iránti elkötelezettségét tükrözi, hogy a vadonatúj Mazda CX-5....
2025.12.10
Autókat vittek el, törtek fel, azokból szerszámokat, barkácsgépeket és egyebeket loptak. A....
2025.12.10
A Főtaxi, Budapest legrégebbi és egyik legmegbízhatóbb személyszállító vállalata új, társadalmi....
2025.12.10
A Mattel magyarországi képviselete adventre időzítette első, teljes egészében digitális illúziókra....
2025.12.10
Egy éves az Omoda & Jaecoo ikermárka Magyarországon, az autók importőre a Hovány és Petrányi....