Porsche
Az Egyesült Államok Szabadalmi és Védjegyhivatalához benyújtott 81 oldalas szabadalmi dokumentum szerint a Porsche által kifejlesztett ciklus nem négy, hanem „hat különálló ütemből áll, amelyek két háromütemes sorozatra oszthatók”.

A hagyományos, négy ütemben - szívó-, sürítő, expanziós és kipufogó – működő motor százötven éve az autóipar sarokköve, s most a Porsche ezt a status quót bolygatja meg, négy ütemet megtoldva kettővel.
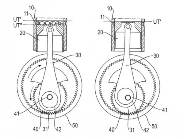
Egy hagyományos négyütemű motorban a ciklus a szívóütemmel kezdődik, amikor levegő és üzemanyag keveréke kerül a hengerbe. A következő kompressziós, vagyis sűrítő szakaszban a dugattyú ezt a keveréket a henger tetejére lévő hengerfejbe nyomja, előkészítve a levegő-üzemanyag elegyet berobbantásra. Ezt követi a teljesítményütem, amelyben a berobbant keverék lefelé viszi a dugattyút, generálva a motor hajtóerejét. Végül a kipufogóütem eltávolítja az elégett gázokat a hengerből.

A Porsche mérnökei ennek a ciklusnak a megváltoztatását javasolják egy második kompressziós és egy második teljesítményütem bevezetésével. Az extra ütemeket a hagyományos teljesítmény- és kipufogóütem közé iktatják be, létrehozva egy szívó-sűrítő-teljesítményciklust, majd egy sűrítő-teljesítmény-kipufogó ciklust.

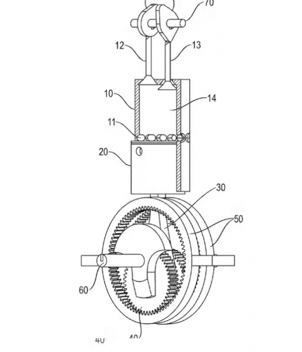
A Porsche a szabadalmában vázlatrajzokkal is ismerteti a hat ütemben működő, különleges kialakítású főtengelyt, amely csatlakozik két, koncentrikus köröket alkotó, gyűrűs fogaskerékben futó fogaskerekekhez. A mechanizmus eltolja a dugattyú forgáspontját, megváltozik a henger kompressziós dinamikája, két-két felső és alsó holtpont lesz. A motor még egy sűrítési és teljesítményütemet produkál anélkül, hogy jelentősen megváltozna a henger szerkezete. Ennek eredményeként az égési folyamat tökéletesebben megy végbe, és a motor minden negyedik ütem helyett minden harmadikban ad le teljesítményt. Ez a hatásfok és a teljesítmény növekedéséhez vezethet, legalábbis a Porsche innovátorai szerint.

Az ilyen kialakítás szemlátomást mechanikailag meglehetősen bonyolult a hagyományos Otto-motorok elrendezéséhez képest. A kérdés az, hogy a hatásfok és a teljesítmény potenciális növekedése elegendő-e az összetettség ellensúlyozására?
Egy dolog biztos, jelesül, hogy a Porsche meglehetősen merész elképzeléssel rukkolt elő cirka százötven évvel a négyütemű Otto-motor feltalálása után. Kétséges azonban, hogy az innovatív koncepció kihívást dob-e a jól bevált és tekintélyes múltra visszatekintő négyütemű ciklusnak, amely működési elvén alapszik majd másfél évszázada szinte minden belsőégésű motor.

Minden szabadalom annyit ér, amennyi megvalósul belőle. Messze nem minden, korszakalkotónak vagy forradalminak kikiáltott technológiáról bizonyosodik be, hogy életképes, s nemcsak papíron, hanem a gyakorlatban is van létjogosultsága, megtermeli a túléléshez szükséges pénzt.
Mindenképpen figyelemre méltó az a jelenség, hogy tíz éve, az elektromos autók térnyerésének kezdetekor sokan temették a belsőégésűek világát, amely most - rácáfolva a jóslatra - szalagon szállítja az újabb és újabb fejlesztéseket. Elég csak arra gondolni, hogy a Mazda újra bedobta a köztudatba a lesajnált a bolygódugattyús Wankel-motorokat, és alig másfél-két hónapja az Avadi amerikai startup mutatott be egy formabontó, kis méretű belsőégésű forgómotort, amely ugyancsak villamosított járművek fedélzeti áramfejlesztőjévé válhat, ha szárba szökken az elképzelés.

