Légiközlekedés
A leszállás és a felszállás között viszonylag sok időt pazarol egy utasszállító a leszállópályán, várva a szükséges elvégzendőkre. Ez az inaktív periódus utasok be és kiszállásából, a csomagok és a rakomány pakolásából tevődik össze, mindez csupán kárba ment pénz és idő légitársaságnak.

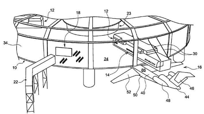
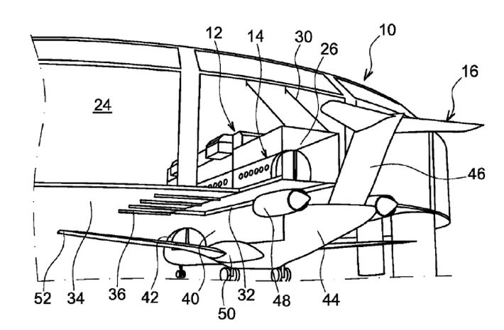
A szabadalom ezen korlátok ellenszerét kutatja, azáltal, hogy sokkal moduláris felfogásban közelíti meg az egész problémakört. Ahelyett, hogy a repülő egésze egyetlen légtér lenne, a törzsbe vájt apró mélyedésekbe lehetne könnyedén beleilleszteni a kabinokat. Lehetnének luxus fülkék, turista fülkék, illetve rakomány szállítására alkalmas kabinok.
Sokkal több idő jutna így az utasok elhelyezkedésére és a csomagok ki-és bepakolására, s amíg a géptörzs dokkol, el lehetne végezni a szükséges technikai és biztonsági vizsgálatokat, valamint a tankolást is. Ezzel drámai mértékbe lehetne csökkenteni a repülőgépek inaktív szakaszát, gyakrabban lehetne járatokat indítani, s sokkal jövedelmezőbbek lehetnének a légitársaságok.

Elképzelhető, hogy egy ilyen rendszer bevezetése mekkora ugrást jelentene a közösségi légiközlekedés területén. De természetesen mindez még odébb van. Egy ilyen rendszer megvalósítási és a kivitelezési költségei, plusz az előre nem látható kiadások végösszege azt sugallja, még egy darabig nem fogunk ilyen csúcs szuper gépekkel repkedni.
