innováció
A repülő autó álma alighanem egyidős magával az automobillal. Az elképzelés azonban soha nem jutott el a gyakorlati megvalósításig, méghozzá két, tartósan fennálló akadály miatt: egyrészt nem állt rendelkezésre megfelelő hajtástechnológia, másrészt a repülő szerkezetek vezetése különleges felkészültséget igényel. Ezekre a problémákra még akár tíz évvel ezelőtt sem tudott hatékony választ adni az autóipar, mostanra viszont a modern, nagyteljesítményű villanymotorok és az autonóm mobilitási technológiák legalább az elvi lehetőségét megteremtették annak, hogy valóra váljanak a légi és közúti közlekedésre egyaránt alkalmas járművek.

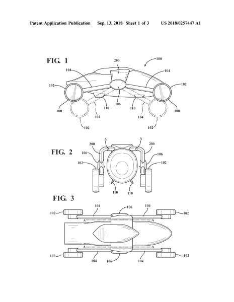
Egy, a napokban nyilvánosságra került szabadalmi bejegyzés arról tanúskodik, hogy a Toyota is komolyan foglalkozik a repülő autó gondolatával. A vállalat észak-amerikai fejlesztő- és gyártórészlege (TEMA) a lehető legegyszerűbb megoldást választotta, és egyazon hajtóelemeket alkalmazná aszfalton és levegőben: magyarul (a keréktárcsa pereméből kiemelkedő légcsavarok segítségével) maguk a kerekek biztosítanák a felemelkedéshez szükséges felhajtóerőt. Ez logikus, hiszen ha nem kell két különálló hajtási rendszert beépíteni, az egész jármű egyszerűbb és könnyebb lehet, ami a röpképesség, a hatótávolság és a megbízhatóság szempontjából egyaránt előnyös.

Hasonló megoldást képzeltek el annak idején a Vissza a jövőbe! című film alkotói is, a Toyota elvi vázlatán azonban a kerekek nem a kerékagy, hanem egy, a tető magasságában lévő forgópont körül fordulnak át repülési pozícióba, olyasféleképpen, mint amikor szárnyas ajtót nyitunk fel. Ennek fontos gyakorlati előnye, hogy minél messzebb kerülnek a tömegközépponttól a rotorok, annál stabilabban repülhet, és annál pontosabban irányítható a jármű. Klasszikus futómű híján ezek a karok tölthetik be a felfüggesztés szerepét is, mivel azonban hagyományos módon így nem kormányozhatók az első kerekek, aszfalton közlekedve az egyes kerekek forgási sebességének módosításával válthatna irányt a gépkocsi.
Hogy megvalósul-e valaha a Toyota elképzelése, ma még korai volna megmondani. Mindenesetre a vállalat autonóm mobilitás terén végzett fejlesztései már a közeljövőben lehetővé teszik, hogy a pilóta teljes egészében a járműre bízza a navigálást – az pedig, hogy ezt két vagy három dimenzióban tegye, csak érzékelő- és számítókapacitás kérdése. Az is kétségtelen, hogy az elmúlt időszakban több autóipari szereplő is kifejezte azon szándékát, hogy repülő gépkocsit építsen – talán hamarosan valóban eljön a repülő autók ideje.

Ha így lesz, hidrogén üzemanyagcellás technológiája hatalmas helyzeti előnyt biztosíthat a Toyotának a versenyben. Egy hagyományos elektromos jármű akkumulátorcsomagja ugyanis eleve több mázsás ballasztot jelent, feltöltése hosszú időt vesz igénybe, ráadásul az akku kapacitását csak ezek hátrányára növelhetjük: a nagyobb akkumulátor azonos technológia esetén törvényszerűen súlyosabb és lassabban tölthető fel. Ezzel szemben a hidrogéntartály kapacitása jelentős tömegnövekedés nélkül bővíthető, feltöltése pedig nem vesz több időt igénybe, mint egy hasonló hatótávolságot lehetővé tevő benzin- vagy kerozintartályé.
A Toyota nem először foglalkozik a repülő autó ötletével, a vállalat tavaly döntött úgy hogy, anyagi és szakmai erőforrásaival támogatja a japán egyetemistákból álló Cartivator csapatát, akik fejükbe vették, hogy a 2020-as Tokiói Olimpiai Játékokon az addigra elkészülő SkyDrive repülő autóból (gyakorlatilag egy óriási, ember vezette drónból) gyújtják meg az olimpiai lángot. Az autógyártó 40 millió japán jennel (körülbelül 100 millió forint) és egy csapatnyi gépészmérnökkel járul hozzá a projekt remélt sikeréhez.

