kipufogó
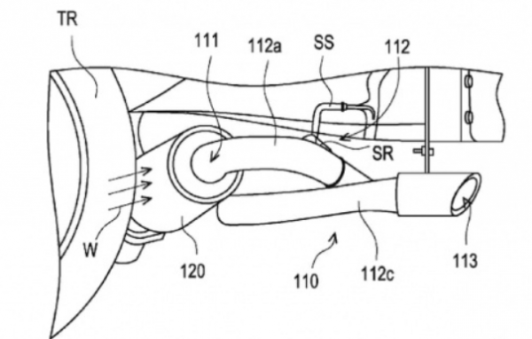
A Honda mérnökei a kipufogórendszer utolsó, hátsó dob utáni szakaszát spirál alakúra tervezték azon a helyen, ahol általában a hangtompitó hátsó dob helyezkedik el. A szabadalmaztatott spirálcső olyan, mint egy malacfarok: függőlegesen csavarodik, mielőtt előbukkan a lökhárító mögül. A hátsó dobot úgy helyezték el, hogy az a fröccsenéstől is védi a csövet az autókban általában elhelyezett védőlemez vagy sárhányó helyett.

A gyártó szerint azonban a kimenő csövet feltehetően el kell látni könnyű burkolattal, hogy ne deformálódjon a hideg hatására, ha víz éri a forró fémet. A hátsó dob azonban minden vízhatásnak ellenáll.
A kipufogó fontos része a hajtásláncának, az átmérője, hossza, sőt, még a formája is hatással lehet arra, hogy az autó mekkora teljesítményt ad le és mennyire hatékony. Nagyon gyakran egy hosszabb cső javíthatja a fogyasztást, ha megfelelő átmérőjű az áramlás maximalizálása szempontjából.


A Honda el akarja hagyni a kipufogó fröccsenés ellen védő pajzsot, és ehelyett a kipufogódobot a kipufogórendszer szerves elemeként a kipufogócső védelmére használná. Szerinte pajzs túl nehéz és költséges az előállítása. A beadvány szerint a kettős felhasználású technológiával költségeket lehet megtakarítani
A levédett szerkezet elrendezése olyan, mint a Honda Civic Si kipufogó-kialakítása, amely a Honda szerint jobb gázáramlást és optimalizáltabb hangtompítást biztosít. Jelenleg csak az Si-n van ilyen kialakítású kipufogó, amely a japán gyár szerint 27 százalékkal nagyobb gázáramlást tesz lehetővé.

